518 US patents in the B26B21 classification group during the 1910s


1910-01-18 US946949 Safety-razor. Charles G Ward (Ward Safety Razor Company)


1910-01-18 US947010 Safety-razor. John H Woods (George B Mccarty, Herbert W Greene)


1910-01-18 US947209 Safety-razor. John H Woods (George B Mccarty, Herbert W Greene)


1910-02-01 US948034 Combined safety-razor and stropper. Frederick H Arnold


1910-02-15 US949205 Safety-razor. William B Wetmur


1910-02-15 US949255 Safety-razor. Anthony F Bals


1910-02-15 US949542 Safety-razor. Christopher W Levalley


1910-02-15 US949584 Safety-razor. Christopher W Levalley


1910-02-22 US950113 Safety-razor. Guy Osborn (Shrp Shavr Razor Company)


1910-02-22 US950352 Cutlery. Fred W Sherman


1910-03-01 US950820 Safety-razor. Auguste Hygonnet (Coutellerie Et Orfevrerie Soc Gen De)


1910-03-01 US951036 Safety-razor. John K Waterman


1910-03-08 US951306 Razor. Thomas Claude Durham (Durham Duplex Razor Company)


1910-03-08 US951456 Safety-razor. Lionel D Saxton


1910-03-15 US952034 Razor. George Frank, Albert H Frank


1910-03-15 US952216 Safety-razor. Lionel D Saxton


1910-03-22 US952837 Safety-razor. Louis Nahemow


1910-03-29 US953058 Safety-razor. Emile Reizenstein


1910-03-29 US953230 Safety-razor. Benjamin Campbell Rash


1910-04-05 US953989 Safety-razor. Thomas C Durham (Durham Duplex Razor Company)


1910-04-12 US954871 Safety-razor. Joseph Molkenthin Jr


1910-05-03 US956532 Safety-razor. Henry A Kieselhorst


1910-05-03 US957008 Safety-razor. Charles F Smith (Landers Frary And Clark)


1910-05-03 US957060 Razor. George F Hollon


1910-05-17 US958699 Safety-razor. Arthur F Durand


1910-06-07 US960424 Cutting-blade for razors. Walter J Smart (Firm Of Simon Zinn)


1910-06-28 US962531 Holder or frame for safety-razors. William Schmidt (Firm Of Simon Zinn, Mary Zinn, Martin Zinn, Arthur Zinn)


1910-08-02 US965862 Safety-razor. Philip A Bowen (Joseph J Steinharter, Philip A Bowen)


1910-08-16 US967500 Blade. Osroe A Clark


1910-08-16 US967501 Safety-razor. George W Conrow


1910-08-16 US967831 Safety-razor. Allison A Pratt (Henry J Hemmens, Allison A Pratt)


1910-08-23 US968428 Safety-razor. Charles F Smith (Landers Frary And Clark)


1910-08-30 US968578 Safety-razor. George A Logan


1910-09-06 US969226 Razor. Alonzo A Warner (Landers Frary And Clark)


1910-09-06 US969724 Safety-razor. Allison A Pratt (Henry J Hemmens, Allison A Pratt)


1910-10-04 US971772 Safety-razor. James D Millar


1910-10-04 US971827 Safety-razor. Emil A Christoph


1910-10-25 US973533 Safety-razor. Eugene C Mergenthaler


1910-10-25 US973734 Safety-razor. Elmer I Young (Young Specialty Company)


1910-10-25 US974083 Safety-razor. Charles Henry Likewise (Nicholas A Schneider, Charles Henry Likewise)


1910-11-01 US974473 Safety-razor. Henrie Clauss


1910-11-08 US974906 Guard for safety-razors. Michael Monetti


1910-11-15 US975535 Safety-razor. Leon Knaster


1910-11-29 US977314 Safety-razor. Otto Kampfe


1910-12-06 US977889 Safety-razor. Louis N Levinsohn (Eva Levinsohn)


1910-12-06 US977919 Razor. Samuel C Yeaton Jr


1910-12-13 US978230 Safety-razor. Willis A Smith


1910-12-13 US978303 Safety-razor blade. Otto Kampfe (Kampfe Bros)


1910-12-13 US978705 Safety-razor. Oliver A Dannacher


1910-12-20 US979100 Safety-razor. Roman Schwenzfeier


1910-12-20 US979296 Safety-razor. John Heissenberger (Frank A Stirrup, Charles H Stirrup)


1910-12-27 US979559 Safety-razor. Alfred Morgan Poindexter (Justin S Galland, Alfred Morgan Poindexter)


1910-12-27 US980027 Razor attachment. Eddie P Truesdale


1911-01-03 US980593 Safety-razor. Luigi Brunacci


1911-01-17 US981739 Razor. John Barr


1911-02-07 US983639 Razor. Charles H Ocumpaugh


1911-02-07 US983640 Razor. Charles H Ocumpaugh


1911-02-21 US984800 Safety-razor. Howard G Cook


1911-02-21 US985089 Safety-razor. Richard T Winn (Leslie Mfg Company)


1911-02-28 US985419 Safety-razor blade. Otto Kampfe (Kampfe Bros)


1911-02-28 US985494 Safety-razor. Charles Henry Atkins


1911-02-28 US985759 Safety-razor. Emil Kessler


1911-03-21 US987453 Safety-razor. Carl Friedrich Ern Jr


1911-03-21 US987553 Razor. Charles P Clark


1911-03-28 US987743 Safety-razor. Charles R Ragsdale


1911-04-04 US988418 Razor-handle. Edward Wiederkehr


1911-04-04 US988753 Safety-razor. Stephen D Baker


1911-04-11 US989116 Razor. Samuel W Charles


1911-04-11 US989147 Safety-razor. Daniel Hepp


1911-04-11 US989176 Safety-razor. Joseph Molkenthin Jr (Clark Blade & Razor Co)


1911-04-25 US990682 Safety-razor. Robert Taylor


1911-05-02 US990872 Safety-razor. George Hickman


1911-05-02 US991147 Safety-razor. King C Gillette


1911-05-02 US991151 Safety-razor. Herman C Guetschoff


1911-05-02 US991377 Handle for safety-razors. Louis Schwartz


1911-05-09 US991533 Safety-razor. James Haralson Pace


1911-05-09 US991594 Blade for safety-razors. Alfonso Alvarez


1911-05-09 US991878 Razor. Walter H Nicholls (Gillette Safety Razor Co)


1911-05-09 US991998 Safety-razor. Floyd D Jones


1911-05-23 US993132 Safety-razor. Alonzo A Warner (Landers Frary And Clark)


1911-05-30 US993658 Safety razor-guard. Beverly Deuel


1911-06-06 US994642 Safety-razor. Charles A Hubbs


1911-06-13 US994958 Safety-razor. Thomas Sofrin


1911-06-13 US995274 Razor. Henry John Miller


1911-06-27 US996382 Stiffener for razors. Edward Weck


1911-07-04 US996617 Safety-razor. Lyman H Cobb (Mary Elizabeth Johnson)


1911-07-04 US996837 Safety-razor. Leonidas H Cress (Fed Tool Company)


1911-07-04 US996879 Safety-razor. Levi J Odell (Odell Mfg Company)


1911-07-11 US997711 Razor. William H Smith


1911-07-18 US998009 Safety-razor. Floyd D Jones


1911-07-18 US998184 Safety-razor. Richard Kampfe


1911-07-18 US998426 Safety-razor. Jacob Stieglitz


1911-07-18 US998528 Safety-razor. Witmer J Kendig


1911-08-01 US999398 Safety-razor. Norvel L Phillips


1911-08-01 US999483 Safety-razor. Richard J Brown (Thomas H Lynch, Richard J Brown)


1911-08-01 US999489 Razor-blade holder. Harold W Eden (Raphael Herman, Samuel J Herman)


1911-08-01 US999697 Safety-razor. Ridner P Cafferty


1911-08-08 US1000059 Safety-razor. Harry R Wade (J W Hughes)


1911-08-08 US999925 Safety-razor. John L Watson


1911-08-15 US1000877 Safety-razor. Samuel Adler


1911-08-29 US1001769 Safety-razor. James Haralson Pace


1911-08-29 US1002196 Hair-cutting device. Robert Campbell


1911-09-19 US1003749 Razor. Gustav Jaennert


1911-09-19 US1003798 Safety-razor. Adolph C Recker (Waterbury Mfg Co)


1911-10-10 US1005193 Safety-razor. William H Gates (Eastern Machine Screw Company)


1911-10-10 US1005273 Safety-razor. Joseph Molkenthin Jr (Clark Blade & Razor Company)


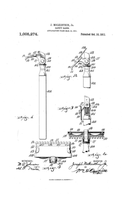
1911-10-10 US1005274 Safety-razor. Joseph Molkenthin Jr (Clark Blade & Razor Company)


1911-10-10 US1005753 Razor. Willis G Shockey


1911-10-17 US1006184 Razor-guard. Anthony De Padro


1911-10-17 US1006391 Safety-razor. Edwin P Mccollom


1911-10-24 US1006607 Safety-razor. Phillip H Unsinger


1911-10-31 US1007133 Safety-razor. Edward E Murphy


1911-10-31 US1007379 Safety-razor. Levi J Odell (Odell Mfg Company)


1911-11-07 US1007847 Safety-razor. Axel Anshelm Carlson


1911-11-07 US1007898 Razor. Thomas C Sheehan (Durham Duplex Razor Company)


1911-11-14 US1008410 Safety-razor. John Daniel Henderson


1911-11-14 US1008565 Safety-razor. Eugene F Schoell (Traut & Hine Mfg Company)


1911-11-14 US1008648 Safety-razor. Charles J Kiefer


1911-11-14 US1008719 Safety-razor. Otto Kampfe (Kampfe Bros)


1911-11-14 US1008769 Safety-razor. Abraham Zilbersher


1911-11-14 US1008929 Safety-razor. Clarence E Smith, Ernest N Humphrey (Traut & Hine Mfg Company)


1911-11-14 US1008966 Safety-razor. Albert D Grover (Coutellerie Et Orfevrerie Soc Gen De)


1911-11-21 US1009101 Safety-razor. Lionel D Saxton


1911-11-21 US1009114 Safety-razor. Phillip H Unsinger


1911-11-21 US1009572 Safety-razor. Philip Quint


1911-12-05 US1010704 Safety-razor. Elliott M Story


1911-12-05 US1011111 Safety-razor. Morton G Bunnell (Josiah Cratty, George C Mastin)


1911-12-12 US1011844 Safety-razor. Arthur James Postans


1911-12-19 US1011938 Razor-blade. Henry J Gaisman (Auto Strop Co)


1911-12-19 US1012039 Safety-razor. Alonzo A Warner (Landers Frary And Clark)


1911-12-26 US1012728 Razor. Thomas C Sheehan (Durham Duplex Razor Company)


1911-12-26 US1012756 Safety attachment for razors. Eddie P Truesdale


1911-12-26 US1013034 Safety-razor. Richard Marx


1912-01-02 US1013360 Safety-razor. William V Baker


1912-01-02 US1013602 Safety-razor frame. Richard Kampfe


1912-01-02 US1013805 Razor. Charles H Ocumpaugh


1912-01-09 US1013874 Device for cutting hair. Frederick E Fooks


1912-01-09 US1014431 Safety-razor. Samuel Adler


1912-01-16 US1015114 Safety-razor. William Winter


1912-01-23 US1015575 Razor. Felix Meyer


1912-02-06 US1016267 Razor. Harold Edward Sherwin Holt


1912-02-06 US1016344 Safety-razor. John A Makarhof (F R Belt, George A Baird, John A Makarhof)


1912-02-13 US1017138 Safety-razor. Hans Christiansen (Bedford Safety Razor Company)


1912-02-13 US1017166 Safety-razor. John P Paddington


1912-02-13 US1017199 Safety-razor. Frederick E Blodgett (Young Mfg Company)


1912-02-20 US1017866 Safety-razor. John Gelin


1912-02-27 US1018420 Razor. Harold Edward Sherwin Holt


1912-02-27 US1018437 Safety-razor. Louis Nahemow


1912-02-27 US1018783 Safety-razor. August W Scheuber (Simon Zinn)


1912-03-05 US1019303 Safety-razor. Alfred Buettner


1912-03-19 US1020796 Safety-razor. Bennett C Buck


1912-03-26 US1021003 Safety-razor. Reuben Rubens


1912-04-09 US1022429 Safety-razor. Edwin C Madden


1912-04-09 US1022623 Safety-razor. Clifford E Dunn


1912-04-09 US1022726 Safety-razor. Henry J Gaisman (Auto Strop Co)


1912-04-09 US1022727 Razor. Henry J Gaisman (Auto Strop Co)


1912-04-09 US1022728 Safety-razor. Henry J Gaisman (Auto Strop Co)


1912-04-09 US1022729 Safety-razor. Henry J Gaisman (Auto Strop Co)


1912-04-09 US1022730 Safety-razor. Henry J Gaisman (Auto Strop Co)


1912-04-09 US1022731 Safety-razor. Henry J Gaisman (Auto Strop Co)


1912-04-09 US1022732 Safety-razor. Henry J Gaisman (Auto Strop Co)


1912-04-09 US1022860 Razor. Frederick May, John H Bleoo


1912-04-16 US1023206 Safety-razor. Charles Jeremias (Henrie Clauss)


1912-04-16 US1023364 Safety-razor. Stephen V Dillon (Dillon Safety Razor Co)


1912-04-16 US1023372 Safety-razor. Jean Garret


1912-04-16 US1023786 Hair-cutter. Sebastian Perrone, Louisa Perrone


1912-04-23 US1024348 Safety-razor. Jens N Lorenzen


1912-04-23 US1024402 Safety-razor. Harry Hess (Herman Strauss)


1912-04-30 US1024509 Multibladed razor. Herbert C Harrison


1912-04-30 US1024570 Safety-razor. Martin Hauser


1912-06-04 US1028461 Safety-razor. Samuel Hetlyn


1912-06-18 US1030023 Safety-razor. Harris C Shannon (John F Murray)


1912-07-16 US1032609 Safety-razor. Floyd D Jones (Jones Razor And Mfg Company)


1912-07-23 US1033373 Safety-razor. Darius N Barrett, Lee E Grant


1912-08-06 US1034743 Razor-guard. Charles Spencer Tate (Frank M Osterberg, Charles Spencer Tate)


1912-08-13 US1035308 Safety-razor. Royal L Boulter


1912-08-13 US1035548 Safety-razor. William J A Dickenson (Modoc Dev Company)


1912-09-17 US1038666 Safety-razor. John A Service


1912-09-24 US1039215 Razor-handle. Henry W Thompson


1912-09-24 US1039377 Razor. Henry J Gaisman (Auto Strop Co)


1912-10-08 US1040347 Safety-razor. Otto Kampfe (Kampfe Bros)


1912-10-15 US1041397 Safety-razor. David Wilson Wood


1912-11-19 US1044476 Safety-razor. Leon H Bean (Leonidas H Cress)


1912-11-19 US1044671 Razor. George O Litt


1912-11-19 US1044730 Razor. August Bemmerer


1912-11-19 US1044863 Safety-razor. Leonidas H Cress, Anthony Novitsky, Harry W Greenbrier (Fed Tool Company)


1912-11-19 US1044906 Razor. Johan Abraham Ohlsson


1912-12-03 US1046005 Safety-razor. John F Murray


1912-12-03 US1046179 Locking device for safety-razor blades. Friedrich W Groschopp (Kampfe Brothers)


1912-12-17 US1047617 Blade for safety-razors. Leonidas H Cress (Fed Tool Company)


1912-12-24 US1048085 Safety-razor. Allison M Macfarland


1912-12-24 US1048154 Safety-razor. Cornelius L Harley


1912-12-31 US1048696 Safety-razor. James A Horton


1912-12-31 US1048893 Safety-razor. Lionel D Saxton


1912-12-31 US1049031 Safety-razor. Samuel Adler


1912-12-31 US1049198 Safety-razor. August Bemmerer


1912-12-31 US1049320 Safety-razor. Clarence W Arnold


1913-01-07 US1049909 Safety-razor. George F Paul


1913-01-14 US1050343 Combined comb and hair-cutter. Robert Coates


1913-01-21 US1051094 Safety-razor. William C Finney (Percy W Finney)


1913-01-28 US1051389 Safety-razor. Eusebius A Cole


1913-02-04 US1052039 Safety-razor. James Roscoe Conklin


1913-02-04 US1052346 Safety-razor. Loeser Kalina


1913-02-11 US1053089 Safety-razor. Oscar A En Holm (Frank M Ashley)


1913-03-04 US1055039 Safety-razor. Daniel Hepp


1913-03-18 US1056404 Razor. Guiy D De Lorenzo


1913-03-25 US1057272 Razor. Alfred Waters Proctor (Gillette Safety Razor Co)


1913-04-01 US1057644 Safety-razor. Louis Hiener


1913-04-08 US1058082 Adjustable safety-razor. James Moore


1913-04-08 US1058318 Razor. Hugh P Mcmillan


1913-04-15 US1059016 Razor. John J Williams


1913-04-15 US1059333 Safety-razor. Otto Kampfe (Kampfe Bros)


1913-04-22 US1059487 Safety-razor. George F Rich (Walla Leviston, George F Rich)


1913-04-22 US1059648 Safety-razor. George H Tuttle (Fenton B Fleming, William Van Matre, George H Tuttle)


1913-04-22 US1059662 Safety-razor. Benno Vom Eigen


1913-04-22 US1059774 Safety-razor. Matthew C Sharpneck (Block E, Matthew C Sharpneck)


1913-04-29 US1060166 Razor-guard. Oriel E Crater


1913-04-29 US1060245 Razor-blade. Henry J Gaisman (Auto Strop Co)


1913-05-06 US1060904 Safety-razor. Ernest N Humphrey (Traut & Hine Mfg Company)


1913-05-06 US1061159 Safety-razor. Charles G Bluh


1913-05-13 US1061324 Safety-razor. Bertrand L Premo


1913-05-27 US1063021 Safety-razor. Louis Jarvis Fay


1913-06-10 US1064101 Razor. Morris Ford Smith


1913-06-10 US1064457 Safety-razor. Clifford E Dunn (Gillette Safety Razor Co)


1913-06-17 US1065109 Safety-razor. Morton G Bunnell (Gillette Safety Razor Co)


1913-07-08 US1066497 Safety-razor. Ernest N Humphrey, Frank S Goodrich (Traut & Hine Mfg Company)


1913-07-08 US1066703 Safety-razor. Harrison Hurlbert Boyce (Gillette Safety Razor Co)


1913-07-15 US1067393 Safety-razor. William J Bauer (Stuart J Lebach)


1913-07-22 US1068247 Safety-razor. Ferdinand Kiko (Carl Pflugbeil & Co)


1913-08-05 US1069465 Safety-razor. Arthur James Postans


1913-08-05 US1069500 Vibratory safety-razor. George H Tuttle (William Van Matre, Fenton B Fleming, George H Tuttle)


1913-08-05 US1069523 Safety-razor. Theodore Bumann


1913-08-12 US1069668 Safety-razor. Thomas A Bell


1913-08-12 US1069831 Safety-razor. Ferdinando C Traylor


1913-08-26 US1071593 Safety-razor. Louis Sieven (Edwin Horrax, Louis Sieven)


1913-09-02 US1071711 Safety-razor. William H Crichton-Clarke (Gillette Safety Razor Co)


1913-09-09 US1072506 Safety-razor. Edward Ernest Rogers


1913-09-09 US1072634 Electric safety-razor. Sampson W Moon


1913-09-09 US1072785 Safety-razor. Charles L Springer


1913-09-30 US1074126 Safety-razor. Dean E Lochman


1913-09-30 US1074149 Safety-razor. Alfred G Wormser


1913-10-07 US1074678 Safety hair-cutter. John W Williamson


1913-10-14 US1075606 Safety-razor. Victor W Sipes (Jacob S Gary)


1913-10-14 US1075976 Safety-razor. Ernest N Humphrey (Traut & Hine Mfg Company)


1913-10-21 US1076286 Safety-razor. Ernest N Humphrey (Traut & Hine Mfg Company)


1913-10-21 US1076375 Safety-razor. Isadore Kaufmann (William Lutter)


1913-10-21 US1076429 Safety-razor. Ernest N Humphrey (Traut & Hine Mfg Company)


1913-10-21 US1076579 Safety-razor. Ernest N Humphrey (Traut And Hine Mfg Company)


1913-11-04 US1077530 Convertible hair-cutter and safety-razor. Altus T Hauser


1913-11-04 US1077545 Razor and guard therefor. Albert Oberheim


1913-11-18 US1078989 Safety-razor. Achill Bippart


1913-11-18 US1079095 Safety-razor. Daniel Beard


1913-11-18 US1079174 Safety-razor. Harold Edward Sherwin Holt


1913-12-02 US1079984 Safety-razor. Horace Lynford Henry


1913-12-09 US1081123 Razor-guard. Winfield L King


1913-12-09 US1081157 Safety-razor. Matthew C Sharpneck (Block E, Matthew C Sharpneck)


1913-12-16 US1081747 Safety-razor. Floyd D Jones (Jones Razor And Mfg Company)


1913-12-16 US1081748 Safety-razor. Floyd D Jones (Jones Razor And Mfg Company)


1913-12-30 US1083026 Safety-razor. Johan Abraham Ohlsson


1914-01-13 US1084238 Razor-handle. Luther Stouffer


1914-02-10 US1086388 Razor. Howard Osborne Michael


1914-02-17 US1087778 Safety-razor. Gus Major Kaiser


1914-02-24 US1088183 Razor. Thomas C Sheehan (Durham Duplex Razor Company)


1914-02-24 US1088220 Razor. Henry J Gaisman (Auto Strop Co)


1914-02-24 US1088674 Safety-razor. Loeser Kalina


1914-03-03 US1088873 Safety-razor. Emanuel J Boyler (Greist Mfg Co)


1914-03-03 US1089228 Safety-razor. Sam Kitzes


1914-03-10 US1089726 Safety-razor. Matthew C Sharpnack


1914-03-10 US1089727 Safety-razor. Matthew C Sharpnack


1914-03-10 US1089753 Safety-guard for razors. Louis W Farquhar


1914-03-17 US1090823 Combined razor and stropper. Raymond Albert Wittl


1914-03-24 US1091018 Safety-razor. Rudolph Rabas


1914-03-24 US1091436 Razor. Joseph Kaufman


1914-04-07 US1092363 Safety-razor. Leonard Heuser


1914-04-07 US1092367 Safety-razor. John Everett Knapp


1914-04-14 US1092829 Razor. Carl Friedrich Ern


1914-04-14 US1093189 Locking means for safety-razor blades. Richard Kampfe


1914-04-21 US1094127 Safety-razor. Hooper Coyne


1914-04-28 US1094874 Safety-razor. Arthur Cameron


1914-07-14 US1103904 Safety-razor. Ellsworth L Mccain


1914-07-21 US1104570 Safety-razor. Josiah Percival Stevens


1914-07-28 US1104857 Safety-razor. Francis Windham


1914-08-04 US1105756 Razor. Samuel W Charles


1914-08-18 US1107538 Safety-razor. Thomas E Mcdermott


1914-08-18 US1107662 Razor. Charles F Ern Jr


1914-09-01 US1109336 Safety-razor. Floyd D Jones


1914-09-22 US1111164 Combination-razor. Volney T Miller


1914-09-22 US1111721 Safety-razor. King C Gillette


1914-10-13 US1113475 Safety-razor. William Edmund O'reilly


1914-11-10 US1116448 Safety-razor. William E Lawson


1914-11-10 US1116750 Safety-razor. Landon H Stephenson


1914-11-17 US1117262 Razor. Philip Sherman


1914-11-17 US1117953 Safety-razor. Henry F Crandall


1914-12-01 US1119122 Safety-razor. David Schaefer


1914-12-01 US1119327 Safety-razor. Charles Twining


1914-12-22 US1121914 Safety-razor. Henry J Gaisman (Auto Strop Co)


1914-12-22 US1121915 Safety-razor. Henry Jacques Gaisman (Auto Strop Co)


1914-12-22 US1121916 Safety-razor. Henry J Gaisman (Auto Strop Co)


1915-01-05 US1123371 Razor-blade. Alfred W Proctor (Gillette Safety Razor Co)


1915-01-05 US1123714 Safety-razor. Clifford E Dunn


1915-01-05 US1123865 Razor. Albert O Gale (Frederic W Crary, Albert O Gale)


1915-01-12 US1124668 Razor. Nathan Shure


1915-01-19 US1125328 Safety-razor. Sidney C Howard (Carl E Brown)


1915-01-26 US1125996 Razor. Frederick H P Fickeissen


1915-02-02 US1127182 Razor. Andrew B Camden (Henry Grady Ross, Andrew B Camden)


1915-02-09 US1127433 Safety-razor. Percy R Greist, Emanuel J Boyler (Greist Mfg Co)


1915-02-09 US1127505 Safety-razor. David M Perine


1915-03-09 US1130835 Safety-razor. Frank M Osterberg


1915-03-30 US1133326 Razor. Harold H Simms (Auto Strop Co)


1915-03-30 US1133327 Razor. Harold H Simms (Auto Strop Co)


1915-03-30 US1133328 Razor. Harold H Simms (Auto Strop Co)


1915-03-30 US1133329 Razor. Harold H Simms (Auto Strop Co)


1915-04-06 US1134706 Safety-razor. William A Somers


1915-04-13 US1135008 Razor-blade. Franz A Fuller


1915-04-13 US1135362 Safety-razor. James F Craven


1915-04-13 US1135611 Safety-razor. Charles W Petosky (Badger Safety Razor Company)


1915-04-13 US1135775 Safety-razor. Julius Bueno De Mesquita


1915-04-13 US1135776 Safety-razor. Julius B De Mesquita


1915-05-11 US1138649 Safety-guard for razors. Louis W Farquhar


1915-05-11 US1139056 Safety-razor. William James Myatt


1915-05-11 US1139115 Safety-razor. Henry J Gaisman (Auto Strop Co)


1915-05-25 US1140664 Safety-razor. Ernest H Cooper, Stanley B Earle


1915-06-01 US1141183 Safety-razor. George H Gillette (Gillette Safety Razor Co)


1915-06-08 US1142310 Safety-razor. Hooper Coyne


1915-07-06 US1145466 Safety-razor. Michael F Brogan


1915-07-13 US1145984 Safety-razor. Franz A Fuller


1915-07-13 US1146701 Safety-razor. Eli A Guthman


1915-07-13 US1146769 Safety-razor. William Fredrick De Konath


1915-07-20 US1146868 Safety-razor. William F Groschopp (Kampfe Bros)


1915-07-20 US1146869 Safety-razor. William F Groschopp (Kampfe Bros)


1915-07-20 US1146945 Safety-razor. Joseph Molkenthin Jr (Clark Blade & Razor Company)


1915-07-20 US1147054 Safety-razor. Wenz Turka


1915-07-20 US1147229 Safety-razor. Franz A Fuller (Auto Strop Co)


1915-07-20 US1147231 Safety-razor. Henry J Gaisman (Auto Strop Co)


1915-08-24 US1151083 Safety-razor. Samuel W Charles


1915-10-05 US1155347 Safety-razor. Henry J Gaisman (Auto Strop Co)


1915-10-19 US1157044 Safety-razor. August R Rieger


1915-10-19 US1157249 Safety-razor. William Edmund O'reilly


1915-11-02 US1158480 Safety-razor. King C Gillette


1915-11-02 US1158481 Safety-razor. King C Gillette


1915-11-02 US1158741 Safety-razor. Marco Byron Stearns, Leo Burt Stearns


1915-11-02 US1158914 Safety-razor. Henry J Gaisman (Auto Strop Co)


1915-11-02 US1159075 Safety-razor. John L Nilson, Olof G Nilson


1915-11-23 US1161311 Razor. James Robert Hoke, Quinton Jerome Hoke, Philip Michaels


1915-11-23 US1161689 Safety-razor. Joseph Kaufman


1915-12-07 US1163136 Safety-razor. Henry J Gaisman (Auto Strop Co)


1915-12-07 US1163137 Safety-razor. Henry J Gaisman (Auto Strop Co)


1915-12-07 US1163521 Self-stropping safety-razor. Ethel Cleveland Gallup


1915-12-14 US1164341 Safety-razor. Charles H Frye


1915-12-28 US1165528 Safety-razor. Edgar Moran


1916-01-04 US1166678 Razor. Edward M Hall


1916-01-11 US1167530 Safety-razor. John Russell Shearman


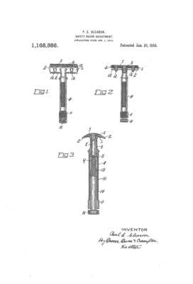
1916-01-18 US1168388 Safety-razor adjustment. Paul E Gleason


1916-01-25 US1169395 Safety-razor. Percy R Greist, Emanuel J Boyler (Greist Mfg Co)


1916-01-25 US1169637 Attachment for razors. Edwin W Grove


1916-01-25 US1169665 Safety-razor. Richard Marx (John B Stetson)


1916-02-01 US1169892 Safety-razor. Peter O Ugarph


1916-02-01 US1170433 Razor. Louis Ellebrecht


1916-02-08 US1171175 Safety-razor. Hooper Coyne


1916-02-08 US1171290 Safety-razor. Thomas Wild


1916-02-15 US1171604 Safety-razor. Henry J Gaisman (Auto Strop Co)


1916-02-15 US1171605 Razor. Henry J Gaisman (Auto Strop Co)


1916-03-07 US1174932 I henry


1916-03-14 US1175023 Hair-cutting instrument. George A Szabo


1916-03-28 US1176780 Safety-razor. Henry J Roth


1916-03-28 US1177087 Safety-razor. Albert Maurice Aubert


1916-04-25 US1180963 Safety-razor. Charles Ashwell


1916-05-02 US1181978 Razor. Frederick D Stitt (John A Morris, Frederick D Stitt)


1916-05-09 US1182059 Hair-trimming appliance. Aristides Tirevol


1916-05-16 US1183330 Hair-cutter. Howard B Washington


1916-05-23 US1184425 Safety-razor. Robert Corn


1916-05-30 US1184875 Safety-razor. Charles T Ridgely (Ridgely Murray Company)


1916-06-13 US1187357 Safety-razor. Rodolfo Mari


1916-06-13 US1187441 Combination-razor. Volney T Miller


1916-06-20 US1188221 Razor. James Thomas


1916-07-04 US1190182 Hair-cutting device. Joseph J Mcdonough (American Fire Alarm Company)


1916-07-25 US1192367 Razor. Butler Ames


1916-07-25 US1192503 Safety pocket-razor. William Henry Crane


1916-08-08 US1193655 Frederick w


1916-08-22 US1195259 Safety-razor William Edmund O'reilly


1916-08-29 US1196576 Safety-razor. Joseph Molkenthin Jr


1916-09-05 US1197364 Safety-razor. Franz A Fuller


1916-09-26 US1199132 Safety-razor. Russell E Wakeley


1916-10-03 US1200426 Safety-razor. Carl C King


1916-10-03 US1200427 Safety-razor. Carl C King


1916-10-10 US1200493 Safety-razor. Russell P Harshberger


1916-10-10 US1200728 Combined safety-razor and razor-blade sharpener. John Holtzman, Abraham Geffon


1916-10-10 US1200794 Safety-razor. James W Anderson


1916-10-17 US1201317 Safety-razor. George W Lishawa


1916-10-31 US1203005 Safety razor. Stanley M Kattell


1916-10-31 US1203089 Safety-razor. Albin C Wrede


1916-11-14 US1204670 Safety-razor. William E Lane


1916-11-21 US1205187 Safety-razor. Franz A Fuller


1916-12-05 US1207247 Safety-razor. Alonzo A Warner (Landers Frary & Clark)


1916-12-12 US1208491 Safety-razor. Fernan Conill


1916-12-26 US1210006 Safety-razor. John H Schmitt


1916-12-26 US1210216 Safety-razor. Frank Schlattau


1917-01-16 US1212956 Razor-blade holder. Robert Arthur Johnstone


1917-02-06 US1214609 Razor-handle. John Arthur Stubblefield, Ross R Thompson


1917-02-20 US1216381 Razor. Thomas Watson


1917-02-20 US1216944 Safety-razor. Samuel Watson Charles


1917-02-27 US1217288 Safety-razor blade and holder. William J Donnelly


1917-02-27 US1217570 Combination safety-razor and hair-clipper. John H Cox


1917-03-20 US1219625 Safety-razor attachment. Peter Chelesz


1917-03-27 US1220837 Safety-razor. Franz A Fuller


1917-03-27 US1221004 Safety-razor and blade. Otto Goetzke


1917-04-03 US1221065 Safety-razor. Harry G Lutz


1917-05-01 US1224444 Hair-trimmer. William H Burns


1917-05-01 US1224462 Hair-cutting instrument. Edward Grant Harris


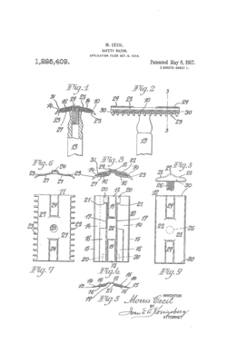
1917-05-08 US1225409 Safety-razor. Morris Cecil


1917-05-15 US1226322 Safety-razor. Carl O Engstrom


1917-05-15 US1226614 Safety-razor. George M Hiskey


1917-05-22 US1227548 Safety-razor and hair-cutter. George J Carlisle (Utility Dev & Sales Company, Carver W Barber, George J Carlisle)


1917-05-29 US1227641 Safety-razor. Alexander Maszczyk


1917-06-19 US1230833 Safety-razor. Farnum F Dorsey


1917-07-10 US1232519 Safety-razor. Louis Jarvis Fay


1917-07-10 US1233105 Safety-razor. William James Myatt


1917-07-31 US1234834 Safety-razor. Luke Francis Warren (Darrent Company)


1917-07-31 US1235040 Safety-razor. Ellsworth L Mccain


1917-08-07 US1236262 Safety-razor. Peter Buscemi


1917-08-14 US1236926 Hair-trimmer. Normal G Gore (Joseph N Moore, Normal G Gore)


1917-08-21 US1238069 Safety-razor. David E Tela (F H Hinesley, August Savoy, Charles dale, Jack Kemp, David E Tela)


1917-09-04 US1238751 Safety-razor. James J Fitzgerald


1917-09-11 US1239577 Safety-razor. Farnum F Dorsey


1917-09-11 US1239644 Razor. George H Tuttle


1917-10-02 US1241921 Safety-razor. Avary B Carroll


1917-11-06 US1245646 Safety-razor. Isaac N Weber


1917-11-13 US1246219 Safety-razor. Charles Ballreich


1917-11-20 US1247266 Safety-razor. Harry B Hartman


1917-11-20 US1247267 Safety-razor. Harry B Hartman


1917-11-20 US1247268 Safety-razor. Harry B Hartman


1917-11-20 US1247581 Safety-razor. Clyde H Seitz


1917-12-04 US1249021 Safety-razor. Charles Richard Burke


1917-12-18 US1250398 Safety-razor. Luke Francis Warren (Darrent Company Inc)


1917-12-18 US1250775 Safety-razor. Fred R Belt


1918-01-08 US1252996 Safety-razor. Augustus Hager Bryant


1918-01-22 US1254037 Safety-razor. Harry W Greenbrier (A C Penn Inc)


1918-01-22 US1254093 Safety-razor. Helier Alexandre Vincent (Marie Therese Elisabeth Salerni Nee Couci)


1918-01-29 US1254990 Automatic shaver. James Ernest Daley


1918-02-19 US1257079 Adjustable safety-razor. Hans Hartman


1918-02-26 US1257679 Hair-clipper. John Cox


1918-03-19 US1259724 Razor. George F Connors


1918-03-19 US1259931 Safety-razor. John Herbert Toal


1918-03-19 US1260144 Safety-razor. Osroe A Clark


1918-04-09 US1262073 Razor. Ellsworth L Mccain


1918-04-09 US1262292 Safety-razor. Jakob Windler


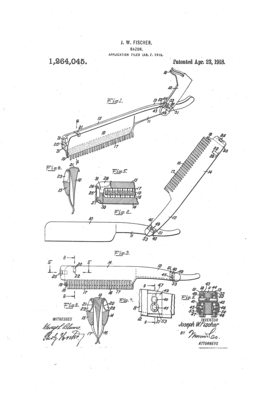
1918-04-23 US1264045 Razor. Joseph W Fischer


1918-05-21 US1266868 Razor-blade. Thomas C Sheehan (Durham Duplex Razor Company)


1918-06-11 US1269299 Safety-razor. Eugene G Mergenthaler


1918-06-11 US1269497 Detachable-bladed razor. Nathaniel M Orr, George D Snider


1918-07-02 US1270783 Safety-razor. Oscar Cartlidge


1918-07-02 US1271249 Safety-razor. Alonzo A Warner (Landers Frary & Clark)


1918-07-02 US1271352 Safety-razor. Cornelis Arian Mulder


1918-07-23 US1273137 Razor. William H Blake


1918-07-30 US1273842 Safety-razor. Oswald T Fleury


1918-07-30 US1274139 Razor. Osroe A Clark


1918-08-20 US1276022 Combination safety-razor and hair-trimmer. William Harry Brasier


1918-08-27 US1276712 Safety-razor. Henry Van Den Berg


1918-10-08 US1280824 Safety-razor. Harry Ostrovsky


1918-10-08 US1280972 Hair-cutting device. William S Dignam


1918-11-19 US1285188 Safety device for razors. Cecil Arthur Hubbard


1918-12-10 US1287338 Safety-razor. Frederick Bunnell King


1918-12-17 US1288049 Safety-razor. Jacob Kunz, Frederick Goertz (A C Penn Inc)


1918-12-24 US1288463 Safety-razor. Wilbrand H Aldendorf


1918-12-24 US1288522 Combination hair-trimmer and safety-razor. John H Cowan


1918-12-24 US1288827 Safety-razor. Fernand Cailleteau


1918-12-24 US1288854 Safety-razor and blade-holder. William M Evans


1918-12-24 US1288869 Moistening attachment for razors. Philip Ganzhorn


1918-12-31 US1290018 Safety-razor. James D Goodwin


1919-01-07 US1290228 Device for shaving. Walter Dewitt Kemp


1919-01-07 US1290641 Safety-razor. Frederick M Munroe


1919-01-14 US1290963 Safety-razor. Franz A Fuller


1919-01-14 US1291318 Razor. Frank White


1919-01-28 US1292449 Detachable and collapsible handle for safety-razors. Charles Sherwood Farriss


1919-02-04 US1293319 Razor-blade holder. Royal L Boulter


1919-02-11 US1294149 Safety-razor. William Edmund O'reilly


1919-02-18 US1295002 Adjustable safety-razor. Fernand Cailleteau


1919-03-04 US1295972 Safety-razor. Emile C Franzmann (Frederick S Deitrick)


1919-03-04 US1296080 Safety-razor. Harold Edward Sherwin Holt


1919-03-18 US1297413 Hair-cutter. Benjamin F Stephenson


1919-03-18 US1297762 Pocket safety-razor. John M Welch (Edith Charlotte Welch)


1919-03-25 US1298456 Safety-razor. William Ferguson Cary


1919-04-01 US1298772 Safety-razor. Robert P Neil


1919-04-01 US1298802 Safety-razor. Matthew C Sharpnack (Wilbur V Bennett, Matthew C Sharpnack)


1919-04-01 US1299095 Magnetic razor. Butler Ames


1919-04-01 US1299096 Magnetic razor. Butler Ames


1919-04-01 US1299097 Magnetic razor. Butler Ames


1919-04-01 US1299098 Safety-razor. Butler Ames


1919-04-01 US1299099 Safety-razor. Butler Ames


1919-04-01 US1299382 Razor attachment. Henry Raymond


1919-04-08 US1299570 Safety-razor frame. William F Groschopp (Kampfe Bros)


1919-04-22 US1301437 Combination stropping device and safety-razor. Leonard Heuser


1919-05-13 US1303539 Electrical safety-razor


1919-05-20 US1303973 Electric safety-razor


1919-05-27 US1304734 Safety-razor


1919-06-03 US1305332 Safety-razor


1919-06-10 US1306441 Automatic safety-razor


1919-06-24 US1307652 Safety-razor


1919-07-01 US1308730 Safety-razor


1919-07-01 US1308747 Safety-razor


1919-07-08 US1308801 Safety-razor. Eugene G Mergenthaler


1919-07-08 US1309456 Saeety-bazob blade


1919-07-15 US1309726 Razor


1919-07-15 US1310086 Icttjma moej


1919-07-15 US1310333 Safety-razor


1919-07-29 US1311428 walker


1919-07-29 US1311438 Hemhy t


1919-08-05 US1312390 Saeety-razor


1919-08-26 US1313980 Safety-bazob


1919-10-07 US1317748 Hair-plane


1919-10-07 US1317822 Razor


1919-10-21 US1319343 Safety-razor


1919-11-11 US1321549 Safety-razor


1919-11-25 US1322718 Chaeles d


1919-12-02 US1323730 Philip h


1919-12-02 US1323731 Philip h


1919-12-02 US1324010 A cobpobation


1919-12-30 US1326635 Heinrich besangon